Danh mục sản phẩm
- Thiết bị Y Sinh - CN Sinh Học - CN Thực phẩm
- Bàn sấy mẫu Lam kính - Bàn sấy tiêu bản
- Máy cắt tiêu bản
- Máy sấy lạnh - máy đông khô
- Bàn soi gel
- Tủ thao tác PCR An toàn sinh học
- Máy định lượng DNA, RNA và Protein
- Vật tư tiêu hao
- Thiết bị tiệt trùng que cấy
- Máy cô mẫu bằng khí nitơ
- Máy sấy phun
- Máy nhân gene-Máy luân nhiệt-Máy PCR
- Máy điện di
- Thiết bị mô học - giải phẫu bệnh
- Thiết bị kiểm tra áp suất thẩm thấu
- Bể ủ nhiệt khô - Block gia nhiệt khô
- Máy dán đĩa vi phiến
- Máy rửa đĩa ELISA
- Thiết bị phân tích GA (Xác định Acid Glutamic)
- Máy đồng hóa cao áp
- Thiết bị lai tạo nucleic acid
- Máy đo hoạt độ nước - Nước tự do
- Máy đếm khuẩn lạc
- Máy hàn ống trữ lạnh - cryotube sealer
- Máy tách chiết acid nucleic (tách chiết DNA/ RNA)
- Máy hút dịch
- Buồng đếm tinh trùng Makler Counting Chaber
- Thiết bị kiểm tra bia-rượu- nước giải khát
- Giường Y Tế
- Đèn Mổ
- Thiết bị Kiểm nghiệm Dược - Mỹ phẩm
- Tủ lạnh y tế
- Tủ lạnh bảo quản -40 độ
- Tủ bảo quản hãng Meling Medical
- Tủ trữ máu
- Tủ âm sâu hãng Meling Medical
- Tủ bảo quản hãng PHCbi (Panasonic) - Nhật
- Tủ âm sâu hãng PHCbi (Panasonic)
- Tủ lạnh y tê xuất xứ Nhật bản
- Tủ lạnh bảo quản hãng evermed - Italia
- Tủ lạnh bảo quản mẫu-Dược phẩm- Sinh phẩm
- Tủ lạnh bảo quản -25 oC
- Tủ lạnh âm sâu -86 độ
- Tủ lạnh âm sâu -60 độ C
- Tủ đông Cryo -150 độ C
- Tủ lạnh bảo quản -30 oC
- Tủ bảo quản tử thi
- Máy ly tâm thí nghiệm
- Bể cách thuỷ - Bể cách cát - Bể cách dầu - Bể tuần hoàn lạnh
- Máy chiết - chưng cất - thiết bị phân huỷ mẫu
- Máy đo các chỉ tiêu PH - MV - EC - TDS - ISE - DO - ORP - Nhiệt độ - Độ dẫn
- Tủ ấm - Tủ sấy - Tủ môi trường - Tủ lão hóa - Tủ sốc nhiệt - Tủ an toàn - Tủ cấy - Tủ hút - tủ hóa chất
- Tủ sấy Trung Quốc
- Tủ sấy Memmert
- Tủ sấy Binder
- Tủ sấy Labtech
- Tủ sấy Snol
- Tủ cấy vi sinh - tủ an toàn - tủ hút khí độc - tủ hoá chất
- Tủ ấm - tủ ấm lắc - tủ ấm CO2
- Tủ ấm lạnh - tủ BOD
- Tủ so màu
- Tủ môi trường - tủ sinh trưởng - tủ lão hoá thuốc-tủ sốc nhiệt
- Tủ an toàn sinh học Biobase
- Tủ an toàn sinh học Nuaire-Mỹ
- Tủ sấy Nabertherm- Đức
- Tủ sấy hãng Memmert
- Tủ sấy chân không
- Tủ cấy vi sinh hãng Airtech
- Tủ an toàn sinh học hãng Airtech
- Tủ sấy LKLab - Hàn Quốc
- Tủ ấm Binder
- Tủ sấy Vinalab Equipment
- Tủ sấy hãng Etuves - Pháp
- Tủ hút hơi hóa chất có màng lọc
- Tủ cân bột-hóa chất độc hại
- Tủ sấy - Tủ ấm hãng Draglab - Đức
- Bể rửa siêu âm
- Bếp đun - bếp gia nhiệt - bếp phá mẫu
- Bơm chân không
- Cân phân tích - cân kỹ thuật - cân sấy ẩm - cân tỷ trọng - cân bàn
- Dụng cụ thí nghiệm
- Kính hiển vi
- Lò nung
- Máy cất nước
- Thiết bị sản xuất dược phẩm
- Máy cô quay chân không
- Thiết bị quan trắc phân tích môi trường
- Máy đo quang - quang phổ - quang kế - HPLC- sắc ký khí
- Máy đồng hoá - máy khuấy
- Máy lắc - máy nghiền-Máy dập mẫu vi sinh
- Thiết bị ngành Nông - Lâm - Thú Y
- Micropipet
- Nồi hấp tiệt trùng
- Nồi hấp tiệt trùng Trung Quốc
- Nồi hấp tiệt trùng Hàn Quốc
- Nồi hấp tiệt trùng Sturdy (Đài Loan)
- Nồi hấp nhiệt độ thấp - Nồi hấp Plasma - Máy tiệt trùng khí E.O
- Nồi hấp tiệt trùng Việt Nam sản xuất
- Thiết bị khử trùng hãng Medtip - Turkey
- Nồi hấp tiệt trùng ALP-Nhật Bản
- Nồi hấp tiệt trùng NUVE
- Nồi hấp tiệt trùng EQUS- Đài Loan
- Thiết bị tiệt trùng cassette
- Nồi hấp tiệt trùng Zealway - USA
- Nồi hấp tiệt trùng Dengguan
- Thiết bị đo nhanh
- Thiết bị nghiên cứu sản xuất pin
- Thiết bị ngành Khai Khoáng - Gốm Ceramic - Xi Măng - Thép
- Thiết bị phụ trợ khác
- Thiết bị công nghiệp
- Thiết bị kiểm tra giấy, vải, dệt, nhuộm, da giày
- Tủ cấy vi sinh-Tủ an toàn sinh học-tủ hút khí độc-tủ đựng hóa chất
- Thiết bị nha khoa-Nail-làm đẹp- chăm sóc sức khỏe
- Tủ môi trường - Tủ sinh Trưởng - Tủ thử nghiệm lão háo - Tủ sốc nhiệt
- Thiết bị Y tế
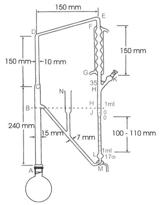
Bộ định lượng tinh dầu theo dược điển V
Tên sản phẩm: Bộ định lượng tinh dầu theo dược điển V
Mã sản phẩm: ĐLTD-DĐVN V
Xuất xứ: Đức
Giá: Liên hệ
Thông tin sản phẩm
Bộ định lượng tinh dầu theo dược điển V
Xuất xứ: Đức
Thông tin chung:
Tách tinh dầu ra khỏi dược liệu bằng phương pháp cất kéo hơi nước.
Từ lượng tinh dầu thu được so với khối lượng dược liệu tính được hàm lượng tinh dầu trong dược liệu.
Có nhiều bộ dụng cụ khác nhau để định lượng tinh dầu, dưới đây là sơ đồ bộ dụng cụ định lượng tinh dầu theo dược điển Việt Nam V:


-
VinalabChai ủ BOD 300ml giá rẻ
Liên hệ
-
VinalabCột lọc sắc ký có màng xốp
Liên hệ
-
VinalabBình phun sắc ký Duran - Đức
Liên hệ
-
VinalabỐng impinger
Liên hệ














